Roper Red4440Vq1 Wiring Diagram

Get Roper Red4440Vq1 Wiring Diagram Pictures. Idential roper rgd4440v01 drver parts parts diagram 01. Summary of contents for roper red4400vq1.

Looking for Roper model B9458B4 electric wall oven repair ...
Looking for Roper model B9458B4 electric wall oven repair ... from c.searspartsdirect.com
Hope you'll like this video, you can give me suggestions to make videos.😊. Here is the link to download the complete project, including the main sketch, libraries and the wiring diagram, click here. Buy roper dryer parts to repair your roper dryer at easy appliance parts.

Hope you'll like this video, you can give me suggestions to make videos.😊.

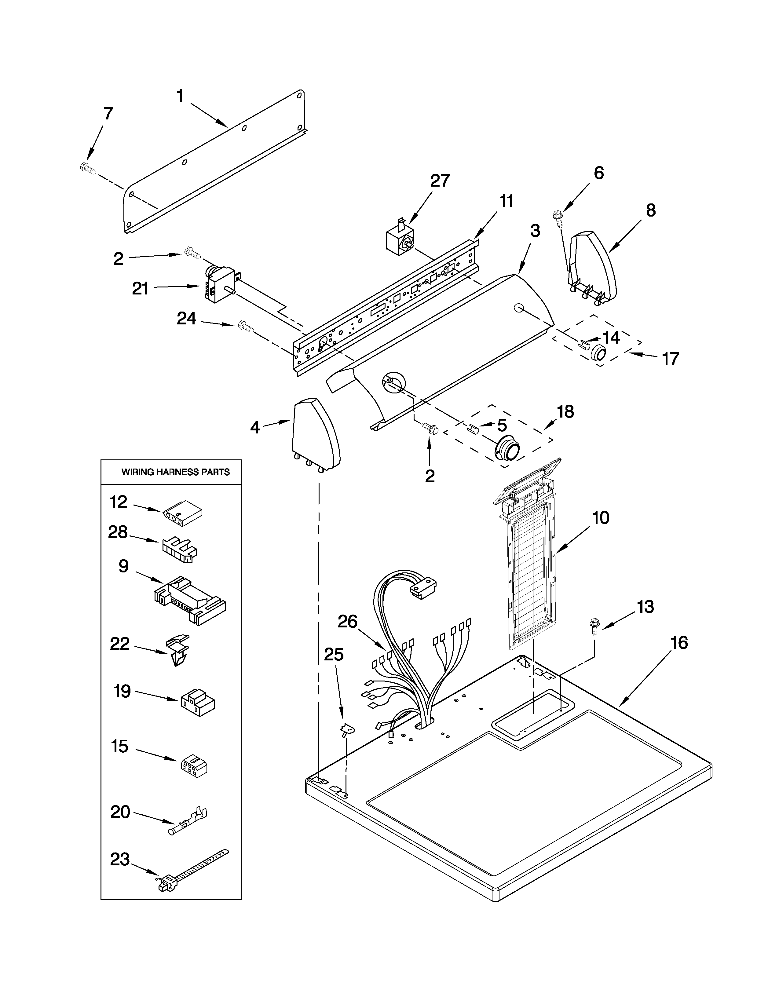
Motor power with brake wires, speedtec din connector. You can examine roper red4440vq1 manuals and user guides in pdf. Replace all parts and panels before operating. We also have installation guides, diagrams and manuals to help you along the way!


Belum ada Komentar untuk "Roper Red4440Vq1 Wiring Diagram"

Posting Komentar

Iklan Atas Artikel

Iklan Tengah Artikel 1

Iklan Tengah Artikel 2

Iklan Bawah Artikel